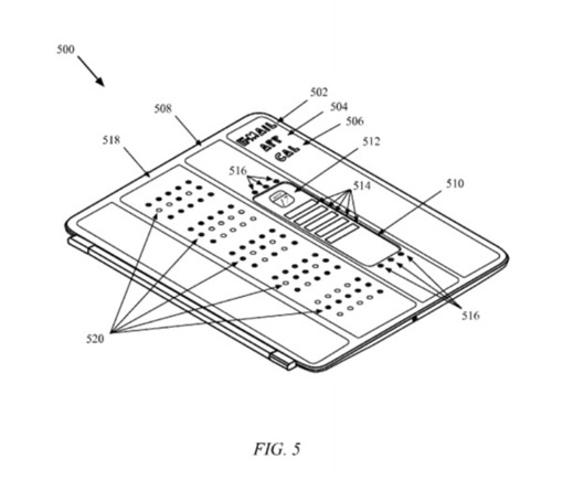
Apple files a lot of patents with few coming to market. That may not be the case with a recent patent describing an iPad cover with smart displays.
Sourced through Scoop.it from: www.zdnet.com
Apple files a lot of patents with few coming to market. That may not be the case with a recent patent describing an iPad cover with smart displays.
Sourced through Scoop.it from: www.zdnet.com
Kenneth Carnesi holds a Juris Doctor degree from New York Law School and a Professional Certificate in International Banking from Harvard Law School. Kenneth Carnesi is the Director of Operations and Government Sales at Anaptyx LLC and sits on the Boards of The Lazarus Organization, Monkeetech LLC and MG Madison Phillips, Inc. Mr. Carnesi has also founded CICG - Carnesi International Consulting Group, a company specializing in strategy consulting to small to mid-size businesses.

Leave a comment